Russian Air-to-Surface Guided Missile AS-14
Rus Havadan Yere Güdümlü Füzesi AS-14  
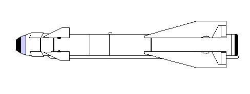
AS-14
KEDGE
MAIL GONDERIN

NATO code name/NATO kod adı                                    : AS-14 (Kedge)

Russian designation/Rus tanımı                                  : Kh-29T

Type/Tip                                                                        : Air-to-Surface/Havadan karaya

Deployment/Servise girişi                                          : 1980

Speed/Hız                                                                       : 800 m/sec

Range/Menzil                                                                : 30 km

Weight/Ağırlık                                                                         : 700 kg

Length/Uzunluk                                                            : 3.88 m

Warhead/Başlık                                                                : 320 kg         

Guidance/Kumanda                                                     : TV-guide/TV-kumandalı

Carried by/Taşıyıcı uçaklar                        :  Su-17M3, Su-25T, MiG-27M, Su-24M, Su-34, MiG-33, Su-35

NATO code name/NATO kod adı                                    : AS-14 (Kedge)

Russian designation/Rus tanımı                                   : Kh-29L

Type/Tipi                                                                        : Air-to-Surface/Havadan karaya

Deployment/Servise girişi                                           : 1980

Speed/HIzı                                                                      : 800 m/sec

Range/Menzil                                                                 : 8 km

Weight/Ağırlığı                                                              : 660 kg

Length/Uzunluğu                                                           : 3.88 m

Warhead/Başlık                                                               : 317 kg

Guidance/Kumanda                                                      : Laser-guide/Lazer güdümlü

Carried by/Taşıyıcı uçak                :  Su-17M3, Su-25T, MiG-27M, Su-24M, Su-34, MiG-33, Su-35

WELCOME TO www.tayyareci.com GERİBACK NEXTİLERİ BİZ KİMİZ?